Handboek Windmolenaar

Bevat 7 hoofdstukken met in totaal 214 figuren.

Quiz Handboek Windmolenaar

Klik op onderstaande titels om de hoofdstukken te openen, vervolgens op de paragrafen om de figuren te tonen.

Quiz hoofdstuk 5

Quiz paragraaf 5.1
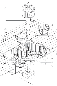
5.1.1
Inleiding

Fig. 5.1.1.2

Doorsnede van een standerdmolen

5.1.2
De voet

Fig. 5.1.2.2

De voet

Fig. 5.1.2.3

Kruisplaat en teerling

Fig. 5.1.2.5 links

Bedekking van de voet (gesloten voet)

Fig. 5.1.2.5 rechts

Bedekking van de voet (halfgesloten voet)

5.1.3
De kast

Fig. 5.1.3.1

Burrie en steenbalk

Fig. 5.1.3.2

De standerdkast

Fig. 5.1.3.3

Het trapbint

5.1.4
De kap

Fig. 5.1.4.1

Kapvormen

Fig. 5.1.4.2

Luikapvormen

5.1.5
De staart en de trap

Fig. 5.1.5.1

Trap met doorlopende bomen

Fig. 5.1.5.2

Trap met parallelbomen

Fig. 5.1.5.3

Loopschoren

Quiz paragraaf 5.2
5.2.1
Inleiding

Fig. 5.2.1.2

Doorsnede van een wipmolen

5.2.2
De ondertoren

Fig. 5.2.2.1

De (onder)toren

Fig. 5.2.2.2

Waterasgat van de molen van Noordeloos

Fig. 5.2.2.3

Het schaargebint

Fig. 5.2.2.4

Doorsnede van twee kokers

Fig. 5.2.2.5

Bovenzetel met steenburrie

Fig. 5.2.2.6

Onderzetel met voegburrie

5.2.3
Het bovenhuis

Fig. 5.2.3.1

Het bovenhuis

Fig. 5.2.3.2

Het trapbint

Fig. 5.2.3.3

Balken op en tussen de daklijsten

Fig. 5.2.3.4

Oplegging penbalk

5.2.4
De staart

Fig. 5.2.4.1

De staart met trap

Fig. 5.2.4.2

Wipmolen met lange schoren

Fig. 5.2.4.3

Staart met kruibank

Quiz paragraaf 5.3
5.3.2
De onderkruiing

Fig. 5.3.2.1

De basis van de paltrok

5.3.3
De opbouw van de paltrok

Fig. 5.3.3.1

De opbouw van de paltrok - achteraanzicht

Fig. 5.3.3.2

De opbouw van de paltrok - zijaanzicht

Quiz paragraaf 5.4
5.4.3
Andere kenmerken

Fig. 5.4.3.1

De spinnekop

Quiz paragraaf 5.5
5.5.2
De constructie

Fig. 5.5.2.1

De weidemolen

Quiz paragraaf 5.6
5.6.3
De paaltjasker

Fig. 5.6.3.1

De paaltjasker

Fig. 5.6.3.2

Waterlopen van de paaltjasker

5.6.4
De boktjasker

Fig. 5.6.4.1

De boktjasker

Fig. 5.6.4.2

Waterlopen van de boktjasker

Quiz paragraaf 5.7
5.7.2
De torenmolen

Fig. 5.7.2.1

De torenmolen

5.7.3
De stenen molen

Fig. 5.7.3.1

De ronde stenen molen

5.7.4
Het houten achtkant

Fig. 5.7.4.1

Opbouw van het achtkant

Fig. 5.7.4.2

Voorbeelden van boventafelementen

Fig. 5.7.4.5

Overgang van een achtkante houten voet naar het achtkant

Fig. 5.7.4.6

Opbouw van het zeskant

Fig. 5.7.4.7

Constructie van de bintlagen voor een zeskante molen

Fig. 5.7.4.8

Constructie van een vierkante voet met schuur

5.7.5
De stelling

Fig. 5.7.5.1

Stelling met onder iedere ligger een schoor

Fig. 5.7.5.2

Stelling met onder-, binnen- en buitensluiting

Fig. 5.7.5.3

Stelling met kraaienpoten

5.7.6
De kap

Fig. 5.7.6.1

Opbouw van een molenkap met een lange spruit

Fig. 5.7.6.2

Opbouw van een molenkap met een lange spruit of middenbalk

Quiz paragraaf 5.8
5.8.2
De stenen binnenkruier

Fig. 5.8.2.1

Voorbeeld van een kruiwerk zoals toegepast in een torenmolen

5.8.3
De houten binnenkruier

Fig. 5.8.3.1

Kruiwerk van een binnenkruier

Fig. 5.8.3.2

Bezet- en doodketting

5.8.4
De buitenkruier

Fig. 5.8.4.1

Buitenkruiwerk

5.8.6
Kruilieren

Fig. 5.8.6.1

Voorbeelden van kruilieren

5.8.7
De zelfkruier

Fig. 5.8.7.1

Windroos voor een zelfkruier

Quiz paragraaf 5.9
5.9.2
Kruiwerken op bovenkruiers

Fig. 5.9.2.1

Voorbeeld van een rollenkruiwerk

Fig. 5.9.2.2

Engels kruiwerk

Fig. 5.9.2.3

Neutenkruiwerk

Fig. 5.9.2.4

Voeghoutenkruiwerk

5.9.3
Zetelkruiwerken

Fig. 5.9.3.1

Zetel en pen van het kruiwerk van een standerdmolen

Fig. 5.9.3.2

Onderzetel met voegburrie

Fig. 5.9.3.3

Bovenzetel met steenburrie

5.9.4
Het kruiwerk van de paltrok

Fig. 5.9.4.1

Kruiwerk van de paltrok

Quiz hoofdstuk 6

Quiz paragraaf 6.1
6.1.1
De bovenas

Fig. 6.1.1.1

Het pothok

Fig. 6.1.1.2

Houten bovenassen

Fig. 6.1.1.3

Gietijzeren bovenassen

Fig. 6.1.1.4

Houten bovenas met insteekkop

Fig. 6.1.1.5

Opstelling halslager

Fig. 6.1.1.6

Halslageringen

Fig. 6.1.1.8

Het penlager

Fig. 6.1.1.9

Penlagers

6.1.2
De koningsspil

Fig. 6.1.2.1

Bovenlagering van de koningsspil

Fig. 6.1.2.2

De poortstokken

Fig. 6.1.2.3

Onderlagering van de koningsspil

Quiz paragraaf 6.2
6.2.1
Houten roeden

Fig. 6.2.1.1

Houten en ijzeren roeden

Fig. 6.2.1.2

Het haspelwiekenkruis

6.2.3
De bevestiging van de roeden

Fig. 6.2.3.1

Bevestiging van de roeden

6.2.4
Het Oud-Hollands wieksysteem

Fig. 6.2.4.1

Het Oud-Hollands wieksysteem

6.2.5
De zeeg en de windborden

Fig. 6.2.5.1

Zeeg en schoot

Quiz paragraaf 6.3
6.3.1
Voorzieningen op de roeden

Fig. 6.3.1.1

Het molenzeil

Fig. 6.3.1.2

Diverse bevestigingen van molenzeilen

6.3.3
De zwichtstanden

Fig. 6.3.3.1

De diverse zwichtstanden

Quiz paragraaf 6.4
6.4.1
Zelfzwichting

Fig. 6.4.1.1

Zelfzwichting

Fig. 6.4.1.2

Askop met spin

6.4.2
De Dekker wieksystemen

Fig. 6.4.2.1

De Dekkerwiek

Fig. 6.4.2.2

De spleetwiek

6.4.3
De Van Bussel-stroomlijnroede

Fig. 6.4.3.1

De Van Bussel stroomlijnneus

6.4.4
De Fokwiek

Fig. 6.4.4.1

De fokwiek

6.4.5
Het Bilau-wieksysteem

Fig. 6.4.5.1

De Bilauwiek

6.4.6
Het Van Riet-wieksysteem

Fig. 6.4.6.1

Van Rietwiek, uitvoering Nispen

Fig. 6.4.6.2

Van Rietwiek, uitvoering Eindewege

6.4.7
Het Ten Have-wieksysteem

Fig. 6.4.7.1

De Ten Haveklep

Fig. 6.4.7.2

Zwichtboom achter op de kap

Fig. 6.4.7.3

Bediening met zwichtboom

Fig. 6.4.7.4

Bediening met tandheugel

6.4.8
Remkleppen

Fig. 6.4.8.1

Rem- en regelkleppen

Quiz paragraaf 6.5
6.5.0
Inleiding

Fig. 6.5.0.1

Kammen en staven

Fig. 6.5.0.2

De steek

6.5.1
Het bovenwiel of het aswiel

Fig. 6.5.1.1

Het bovenwiel

Fig. 6.5.1.2

Opbouw van het bovenwiel

Fig. 6.5.1.3

Het vastzetten van armkammen

Fig. 6.5.1.4

Belegstukken

6.5.2
De bonkelaar

Fig. 6.5.2.1

Bonkelaars

Fig. 6.5.2.2

Klembanden om de bonkelaar

Fig. 6.5.2.3

Aandrijving voor een vijzel met zwaar en licht werk

Fig. 6.5.2.4

Dollenwiel

6.5.3
De schijfloop of het rondsel

Fig. 6.5.3.1

Rondsels of schijflopen

Fig. 6.5.3.2

Voorbeeld van staven

Fig. 6.5.3.3

Rondsel met schietstaven

6.5.4
Het spoorwiel, takrad, ravenswiel en steenwiel

Fig. 6.5.4.1

Het spoorwiel

6.5.5
Het sterrewiel of varkenswiel

Fig. 6.5.5.1

Voorbeelden van sterre- of varkenswielen

6.5.6
Het waterwiel of onderwiel

Fig. 6.5.6.1

Het water- of onderwiel

6.5.8
Conische kamwielen en schijflopen

Fig. 6.5.8.1

Kammen

6.5.9
Gietijzeren wielen

Fig. 6.5.9.1

Gietijzeren wiel

Quiz paragraaf 6.6
6.6.1
De blokvang

Fig. 6.6.1.1

De Vlaamse vang

Fig. 6.6.1.2

De Hollandse vang of stutvang

Fig. 6.6.1.3

De stut

6.6.2
De band of hoepelvang

Fig. 6.6.2.1

Houten bandvang

Fig. 6.6.2.2

Stalen bandvang

6.6.3
Sabelijzer, vangbalk, ezel of voorste hanger, achterste hanger en hangereel

Fig. 6.6.3.1

De vangbalk met toebehoren

Fig. 6.6.3.3

De ezel of voorste hanger

Fig. 6.6.3.4

Het hangereel

6.6.4
Rijklamp en rust, lendestut, vorkstutten en kettingen

Fig. 6.6.4.1

Houten en metalen rijklamp en rust

Fig. 6.6.4.2

De lendestut

6.6.5
De wijze van ophangen van de gelichte vangbalk

Fig. 6.6.5.2

De achterste hanger met duim

Fig. 6.6.5.3

Achterste hanger met klamp

6.6.6
Het lichten en het opleggen van de vang

Fig. 6.6.6.1

De binnenvangstok van de standerdmolen

Fig. 6.6.6.2

De binnenvangstok van de wipmolen

Fig. 6.6.6.3

De binnenwipstok van de Paltrok

Fig. 6.6.6.4

De vang met een evenaar

Fig. 6.6.6.5

De trommelvang

6.6.7
De vang van de tjasker en de spinnekop

Fig. 6.6.7.1

De vang in een spinnekop

6.6.8
Het borgen van de vang en het bovenwiel

Fig. 6.6.8.1

De trekvang

Fig. 6.6.8.2

De pal

Quiz hoofdstuk 11

Quiz paragraaf 11.1
11.1.0
Inleiding

Fig. 11.1.1

Een duiker

Fig. 11.1.2

Molenviergang

Quiz paragraaf 11.2
11.2.0
Benamingen

Fig. 11.2.1

Molen met in- en uitmaalcircuit.

Quiz paragraaf 11.3
11.3.0
Ondersoorten en typen

Fig. 11.3.1

De Dekkerpomp (links) en een roerom van een weidemolentje (rechts)

Quiz paragraaf 11.4
11.4.1
De waterloop

Fig. 11.4.1.2

Doorsnede van een ronde stenen poldermolen met een binnenscheprad

Fig. 11.4.1.3

Plattegrond van een schepradmolen

11.4.2
Het scheprad

Fig. 11.4.2.1

Houten scheprad

Fig. 11.4.2.2

Metalen scheprad

11.4.3
Het gaande werk

Fig. 11.4.3.1

Het schaargebint in een achtkante molen

Fig. 11.4.3.2

Spilkalf en wervel

Fig. 11.4.3.4

Lagering wateras

11.4.4
De werking van het scheprad

Fig. 11.4.4.1

Metalen scheprad

Fig. 11.4.4.2

De wachtdeur

Quiz paragraaf 11.5
11.5.1
De waterloop

Fig. 11.5.1.1

Doorsnede van de basis van een vijzelmolen

Fig. 11.5.1.2

Plattegrond van een vijzelmolen

11.5.2
De vijzel

Fig. 11.5.2.1

Houten vijzel met twee gangen

11.5.3
Het gaande werk

Fig. 11.5.3.1

Licht en zwaar werk

Fig. 11.5.3.2

Bovenlagering van de vijzel

Fig. 11.5.3.3

Onderlagering voor de vijzel

Quiz hoofdstuk 12

Quiz paragraaf 12.3
12.3.0
Het gaande werk

Fig. 12.3.1

Het gaande werk van een achtkante korenmolen

Fig. 12.3.2

Het gaande werk van een standerdmolen

Quiz paragraaf 12.4
12.4.1
De steenspil en het rondsel

Fig. 12.4.1.1

De steenspil

Fig. 12.4.1.2

De spil- of tapbalk

Fig. 12.4.1.3

De keerneut

12.4.2
De bolspil en toebehoren

Fig. 12.4.2.1

De bolspil

Fig. 12.4.2.2

Kussen met taatspot

Fig. 12.4.2.3a

Houten steenbus

Fig. 12.4.2.3b

Metalen steenbus

Fig. 12.4.2.3c

Steenbus voor pennetjeswerk

12.4.3
De rijn

Fig. 12.4.3.1

Diverse rijnen

Fig. 12.4.3.2

Balanceerrijn

Quiz paragraaf 12.5
12.5.1
Het paard en toebehoren

Fig. 12.5.1.1

Het lichtwerk met de lichtboom naast het steenkoppel

Fig. 12.5.1.2

Lichtwerk met kruisvonder

12.5.2
De regulateur

Fig. 12.5.2.1

De regulateurs

Quiz paragraaf 12.6
12.6.1
De graantoevoer

Fig. 12.6.1.1

Een compleet maalkoppel met steenspil en rondsel

12.6.2
De meelafvoer

Fig. 12.6.2.1

De meelpijp

Quiz paragraaf 12.7
12.7.1
Het malen

Fig. 12.7.1.1

Rijke of arme stenen

Fig. 12.7.1.2

Schematische indeling van het maalvlak

12.7.2
De maalstenen

Fig. 12.7.2.1a

Maalsteen - Duitse blauwe steen met zwaaischerpsel

Fig. 12.7.2.1b

Maalsteen - Franse steen

Fig. 12.7.2.1c

Maalsteen - Kunststeen met pandscherpsel

Fig. 12.7.2.2

Doorsnede van een kunststeen

12.7.3
Het billen en het scherpsel

Fig. 12.7.3.1

Doorsnede van een steen met zachte uitslag

Fig. 12.7.3.2

Bilhamers

Fig. 12.7.3.3

De steenkraan

Quiz paragraaf 12.8
12.8.1
Het luiwerk

Fig. 12.8.1.1

Luiwerk van de standerdmolen

Fig. 12.8.1.2

Het sleepluiwerk

Fig. 12.8.1.3

Het kammenluiwerk

12.8.2
Het afschietwerk

Fig. 12.8.2.1

Het afschietwerk

Quiz paragraaf 12.9
12.9.4
Het openleggen van een maalkoppel

Fig. 12.9.4.1

De merktekens op spil en rijn

Quiz hoofdstuk 13

Quiz paragraaf 13.1
13.1.0
Inleiding

Fig. 13.1.1

Doorsnede van een Groninger koren- en pelmolen

Quiz paragraaf 13.2
13.2.2
De pelstenen

Fig. 13.2.2.1

De onderkant van een Groninger pelsteen

Fig. 13.2.2.2

De onderkant van een Zaanse pelsteen

Fig. 13.2.2.5

Een compleet pelkoppel

13.2.3
De zifterij

Fig. 13.2.3.1

De zifterij, hier met dichtgemaakt halfschilhok

13.2.4
De waaierij

Fig. 13.2.4.1

De waaierij

Fig. 13.2.4.2

Trekblok

13.2.5
De jacobsladder

Fig. 13.2.5.1

Jacobsladder (zelfspannend)

Quiz hoofdstuk 14

Quiz paragraaf 14.2
14.2.0
De inrichting

Fig. 14.2.1

De wentelaszolder

Fig. 14.2.2

De maalvloer

14.2.2
De kantstenen

Fig. 14.2.2.1

De kantstenen

Fig. 14.2.2.2

De strijkers en afloopbak

14.2.3
Het vuister

Fig. 14.2.3.1

Het vuister

14.2.4
Het voor- en naslagblok

Fig. 14.2.4.1

De laad met alle onderdelen

Fig. 14.2.4.3

Het oliewerk (voorslag)

Quiz hoofdstuk 15

Quiz paragraaf 15.2
15.2.0
De inrichting

Fig. 15.2.1

Doorsnede van een paltrokbalkenzager

Fig. 15.2.2

Doorsnede zeskante zaagmolen

Quiz paragraaf 15.3
15.3.1
De krukas en de kolderstok

Fig. 15.3.1.1

Drieslagskrukas

Fig. 15.3.1.2

Lagering van krukas en kolderstok

Fig. 15.3.1.3

Zaagwerk van een paltrok

15.3.2
De zaagramen

Fig. 15.3.2.1

Het zaagraam

Fig. 15.3.2.2

Onderdelen van een zaag

15.3.3
De zaagsleden

Fig. 15.3.3.1

De zaagslede

Fig. 15.3.3.2

Verankering van de te zagen stam of balk

Fig. 15.3.3.4

Het steunbord

15.3.4
Het krabbelwerk

Fig. 15.3.4.1

Het krabbelwerk

15.3.5
De winderij

Fig. 15.3.5.1

Winderij

Fig. 15.3.5.2

Winderijen van een bovenkruier- zaagmolen met twee sleden

15.3.6
De kraan en jijntakel

Fig. 15.3.6.1

De jijntakel

Fig. 15.3.8.1

Indeling van de zaagvloeren van een acht- en een zeskante zaagmolen